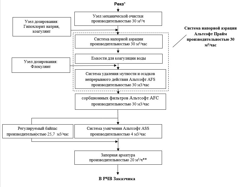
г. Порхов
Источник водоснабжения: река
Назначение: хозяйственно – питьевое
Производительность:— Номинальная: 30 м³/час — Суточная: 720 м³/сутки
Режим работы: непрерывный