«Концерн Росэнергоатом» Балаковская АЭС, Саратовская область
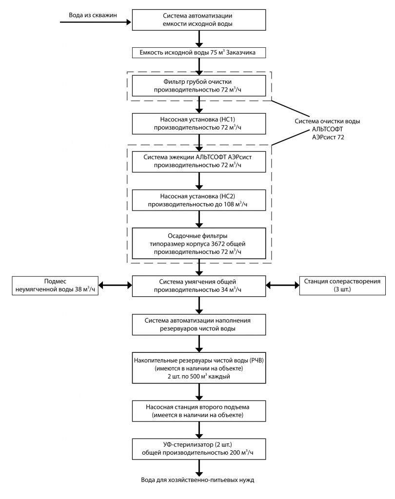
Исходные данные: Источник водоснабжения — скважины. Номинальное часовое потребление воды — 70 м3/час. Максимальное суточное потребление воды — 1680 м3/сутки. Назначение — вода для хозяйственно-питьевых нужд. Режим работы — непрерывный.
Параметры исходной воды по ВЗУ:
Определяемые параметры
Арт. Скважина №1*
Арт. Скважина №2*
Параметры воды после систем водоподготовки (СанПиН 2.1.4.1074-01)
Запах, баллы
2
2
В норме 2
Мутность, мг/л
7,1
5,2
Не более 1,5
pH
7,1
7,3
6-9
Общая жесткость, мг-экв/литр
10,7
11,0
7,0
Железо, мг/л
2,0
1,6
0,3
Требования к системам очистки воды следующие: — снижение мутности до норм СанПиН; — снижение жесткости воды до норм СанПиН; — снижение содержания железа до норм СанПиН.